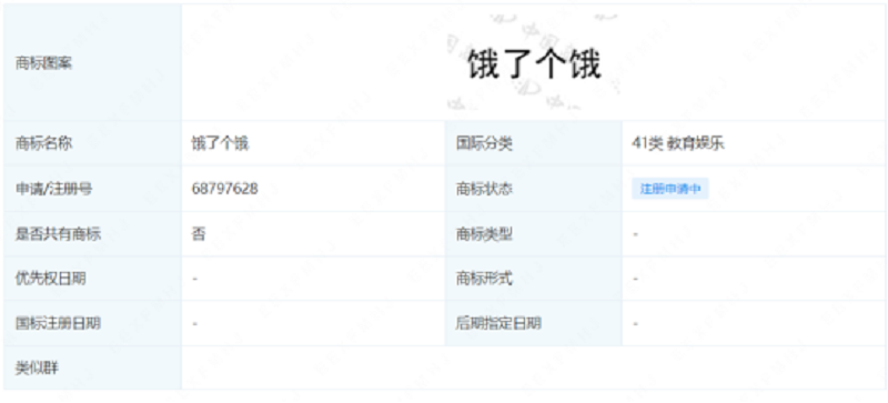
近日,饿了么关联公司拉扎斯网络科技(上海)有限公司申请注册了1件“饿了个饿”商标,商标分类是41类“教育娱乐”。

有意思的是,在羊了个羊大火之后,多个相同格式的商标被抢注,包括“咩了个咩”“鸽了个鸽”“鹅了个鹅”“狗了个狗”“猪了个猪”“兔了个兔”“牛了个牛”“猫了个猫”等,商标国际分类涉及食品、医疗器械、办公用品、餐饮住宿等。
饿了么申请“饿了个饿”商标,有可能也是在“羊了个羊”启发下提前进行商标布局。

此前,饿了么还曾申请过方言版“饿了么”商标,包括“饿了伐”、“饿了妹”、“饿了啵”、“饿鸟撒”、“沃了摸”等,堪称全国方言版“饿了么”大赏。
围绕“饿了么”一词,饿了么公司还申请了“饿乐吧”、“饿乐吃”、“饿乐点”、“饿乐拼”、“饿小鲜”、“饿小宝”、“饿了霸”等等。
甚至,饿了么还申请了“饿魔”商标,不过这件商标没有通过注册,目前是无效的。

饿了么在商标保护上可谓是不遗余力,玩出新花样!申请商标,不仅可以更好的保护品牌,同时对于宣传推广也大有裨益,还能作为企业的无形资产,随着品牌不断升值。
跟风热点其实是品牌常见的营销手段,如果不违反相关法律规定,注册此类商标,可以认为是正常的商业行为。
基于品牌布局考虑,提前将热词收入囊中,此类有个性、有特色的商标,其自带的话题性在未来或许可以为企业节省不少营销的成本。
来源:商标圈

购物车(0)