众所周知,“魔芋爽”是辣条企业卫龙公司的一款零食,卫龙公司申请注册“魔芋爽”商标,却被国家知识产权局驳回,卫龙公司对此不服,起诉国家知识产权局至法院,请求法院判决撤销被诉决定,并判令国家知识产权局重新作出决定。
据北京知识产权法院发布显示,卫龙公司的诉讼请求已被判决驳回。据了解,目前该案原告卫龙公司已提起上诉。

回顾来看“魔芋爽”商标首次在29、30类的注册时间为:2014年4月3日和2014年4月21日,注册人为:漯河市平平食品有限责任公司(漯河市卫龙商贸有限公司100%持股)这两个商标当时便被驳回,申请人做了驳回复审,失败后提出诉讼,但依然失败。

后于2019年以漯河市卫龙商贸有限公司名义申请注册同类同名魔芋爽商标均被驳回,且理由均为:诉争商标指定使用在咖啡,茶饮料,糖,糖果,蜂蜜,面包,糕点,蛋糕,谷粉制食品,以谷物为主的零食小吃,谷类制品,面粉制品,方便面,食用面筋,魔芋粉,冻酸奶(冰冻甜点),酱油,酵母,食用芳香剂,家用嫩肉剂等商品上,直接表示了指定商品的原料等特点,易使相关公众对商品的质量或特点与“魔芋”产生联系从而导致误认。
原告认为“爽”是该商标的显著识别部分,但是“魔芋爽”在整体上仍构成仅直接表示。
但北京知识产权法院认为:标志经过使用取得显著特征,并便于识别的,可以作为商标注册。对于商标经过使用获得显著性的主张,需综合考虑相关公众的认知情况,商标使用的时间、地域、规模、方式等,商标的广告、宣传等知名度情况,其他市场主体的使用情况等。
本案中,“魔芋爽”使用在卫龙公司的一款零食上,该商标在使用中,通常与“卫龙”系列商标共同组合使用,相关公众易将卫龙作为其“组合商标”显著识别部分,不足以证明诉争商标“魔芋爽”经使用已经获得显著性;对 就是认为缺乏显著性;

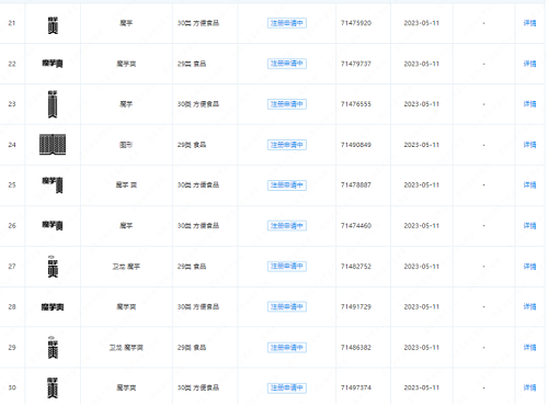
于是乎2023年5月11日漯河市卫龙商贸有限公司晚国家知识产权局商标局递交了新的商标申请“魔芋爽”,下面我们一起来看下这样是否就算有显著性了呢?


以上为部分展示,感兴趣的小伙伴可以自行查看,那么你们觉得这次的“魔芋爽”是否具有显著性呢?
文章来源于商标圈,版权归原作者所有,如有侵权,联系删除
购物车(0)