摘要:天眼查App显示,近日,“董宇辉”商标被上海某公司和自然人楚某申请注册,国际分类包括咖啡、茶、米面、巧克力、糕点甜食等,当前商标进度为申请中。
据悉,董宇辉此前系新东方英语教师,现为新东方旗下东方甄选直播间主播,凭借着幽默诙谐的自黑、创新的双语带货方式和出口成章的才华,董宇辉在网上大火,这也直接拉动了新东方直播带货事业的发展。截至6月29日凌晨,新东方在线旗下“东方甄选”直播间的粉丝量突破2000万。
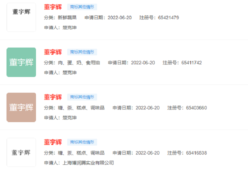
天眼查中“董宇辉”商标相关信息
抢注名人明星商标现象并非首次,俗话说,人红是非多,谁都想来分一杯羹。比如此前爆红的少年丁真、马保国,甚至网络热词“耗子尾汁”,都曾被商标抢注者集中“哄抢”,注册申请达到数百件。
这些人在这一时间节点注册“董宇辉”商标,其背后用意不言而喻,无非是看到董宇辉名字背后所潜藏着的无限商机。
据了解,注册一件商标,成本仅需千元左右,若是注册成功并转让给他人使用,进账少则几万元,多则数十万元。抢注商标一旦成功,甚至比买彩票中奖还赚钱。近年来,便有不少职业“炒标人”借此牟利,哪个名字“火”就抢注什么,哪个名字“出名”就抢注什么,靠转卖商标赚得盆满钵满。
商标注册不是法外之地
艺人的艺名可以作为商标来申请注册,但也只有获得当事人授权之后,相关商标注册行为才符合法律规定,具有相应的法律效力。如果侵犯了当事人的在先权利,当事人可以通过异议流程,予以申诉。
对于这些商标恶意抢注行为,国家相关部门也在加大打击力度。
2021年3月,国家知识产权局实施《打击商标恶意抢注行为专项行动方案》,集中开展打击商标恶意抢注行为专项行动,《行动方案》工作重点第六条便是“恶意抢注具有较高知名度的公众人物姓名、知名作品或者角色名称的”。有专家认为,根据该方案,相关注册“谷“董宇辉”商标的申请人,有可能会受到相应处罚。并且有律师表示,如果企业或个人未获得对方授权,用其姓名注册申请商标,可能侵犯对方的姓名权。

抢注“董宇辉”商标,构成侵权吗?
构成侵权!
根据《中华人民共和国商标法》规定,申请商标应当诚实守信。2019年,《中华人民共和国商标法》通过修订又增加了第4条“不以使用为目的的恶意商标注册申请,应当予以驳回”的规定。
恶意抢注商标是以获取不当利益或阻碍竞争为目的,在明知或应知的情况下,将与他人在先使用但未注册的商标相同或近似的标志在相同或类似商品上抢先注册的行为。
2022年1月,国家知识产权局再次印发《知识产权信用管理规定》,明确将恶意商标注册申请列为失信行为,对恶意注册申请商标的失信主体依法依规加大惩戒力度。
2022年4月,国家知识产权局再次印发《关于持续严厉打击商标恶意注册行为的通知》,强化整治以“囤商标”“傍名牌”“搭便车”“蹭热点”为突出表现的商标恶意囤积和商标恶意抢注行为,重点打击违反诚实信用原则,违背公序良俗,谋取不正当利益,扰乱商标注册秩序的典型违法行为,其中就包括:恶意抢注具有较高知名度的政治、经济、文化、民族、宗教等公众人物的姓名的;商标注册申请数量明显超出正常经营活动需求,缺乏真实使用意图的。
商标遭抢注,该如何维权?
1、提出商标异议
《商标法》第三十三条规定:对初步审定的商标,自公告之日起三个月内,任何人均可以提出异议。
因此,在商标进行初审公告但尚未被核准注册之前,可以通过对抢注者申请提起异议的方法进行救济。同时,在提起商标异议的时候,需记得以自己的名义同步提起一个商标申请,因为即便异议成功,也只是作废了抢注,被抢注者自己还是需要申请一下商标。
2、申请撤销
《商标法》第四十九条规定:注册商标成为其核定使用的商品的通用名称或者没有正当理由连续三年不使用的,任何单位或者个人可以向商标局申请撤销该注册商标。
因此,如果抢注的商标已经过了公告期,获得注册了,可以提出申请撤销,同时被抢注者需要同步申请商标,以便在抢注商标被撤销后自己可以获得此商标。
3、提出无效宣告
《商标法》第四十四条规定:已经注册的商标,违反本法第十条、第十一条、第十二条规定的,或者是以欺骗手段或者其他不正当手段取得注册的,由商标局宣告该注册商标无效;其他单位或者个人可以请求商标评审委员会宣告该注册商标无效。
《商标法》第四十五条:已经注册的商标,违反本法第十三条、第十五条、第十六条、第三十条、第三十一条、第三十二条规定的,自商标注册之日起五年内,在先权利人或者利害关系人可以请求商标评审委员会宣告该注册商标无效。
因此,对于不以使用为目的的恶意商标注册申请、抢注通用名称、缺乏显著性的商标,被抢注者可以向商标局申请无效宣告。需要注意的是,如果商标创始人要申请无效宣告,应当在商标被核准注册之日起五年内提出。但如果是驰名商标被恶意抢注,无效宣告不受五年时间限制。
4、要求恶意抢注人赔偿损失
《商标法》第五十八条规定:将他人注册商标、未注册的驰名商标作为企业名称中的字号使用,误导公众,构成不正当竞争行为的,依照《中华人民共和国反不正当竞争法》处理。
因此,某些恶意抢注行为符合反不正当竞争法中所禁止的“混淆”行为,例如使用谐音、抢注国外知名品牌中文商标等,被抢注者可以要求抢注人赔偿损失。
商标的核心功能在于帮助消费者识别商品或服务来源,促使生产者、经营者保证商品或服务质量,是企业商誉的集中体现。
抢来的名人商标永远是没有价值的肥皂泡,绞尽脑汁傍名人最终只会是竹篮打水一场空。商标注册不是法外之事,不可为了一时的“蹭热度”而去盲目注册一些商标,申请注册商标的行为应具有合理性或正当性。
此文章来源于知夫子,版权归原作者所有,如有侵权,联系删除

购物车(0)